ТВМГ – надежное оборудование. Принцип действия основан на регулировке индуктивности, что позволило отказаться от движущихся частей, сложных коммутационных схем и силовых полупроводников. В конструкции трансформатора применены только медь и электротехническая сталь.
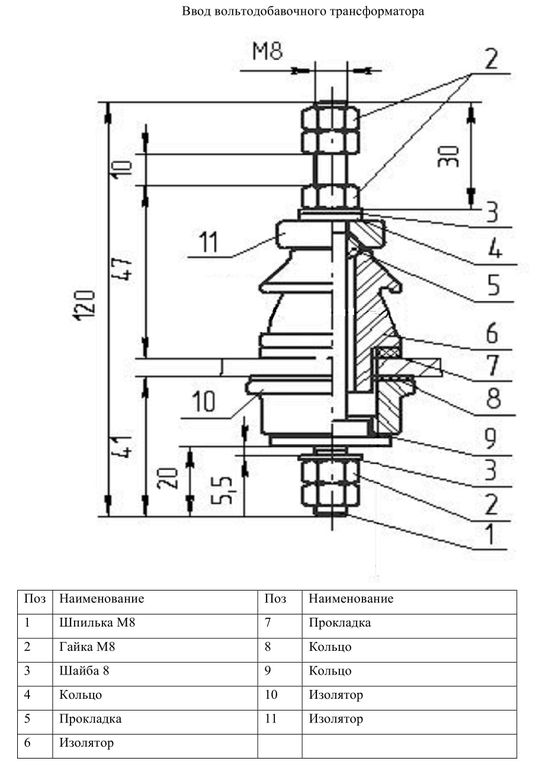
Вольтодобавочный трансформатор состоит из конструктивной и активной части. Конструктивная часть включает в себя сварной гофрированный бак, крышку бака, крышку отсека электронного блока управления. Бак имеет в плане прямоугольную форму. Бак состоит из: а) Гофрированных боковых поверхностей, изготовленных из стального листа толщиной 1,2 мм. ООО «Системы качества электроснабжения-Электро» Техническое описание и инструкция по эксплуатации 4 б) Верхняя рама и каркас бака, изготовленные из угловой стали. в) Днище бака с приваренными к нему опорами, изготовленными из стального профиля – швеллер. Бак снабжен сливной пробкой и двумя клеммами заземления. На баке устанавливается паспортная табличка. Крышка бака, конструктивно выполнена в виде ящика и служит одновременно отсеком установки электронного блока управления. Крышка снабжена заливной горловиной. В боковой поверхности крышки предусмотрено запирающееся на замок окно для осмотров и обслуживания устройств защиты. Вводы первичный и вторичный осуществляются через герметичные резиновые уплотнения в боковых поверхностях крышки бака. Крышка отсека электронного блока управления имеет 4 отверстия для установки грузозахватных петель – рым гаек. Активная часть состоит из автотрансформаторов, катушек индуктивности MCI, раскрепляющих брусков, стягивающих шпилек и опорной рамы. Рама с установленными на ней автотрансформаторами и катушками индуктивности, крепится с помощью четырех шпилек к крышке бака Автотрансформатор и катушки индуктивности тороидальные, выполнены на витом магнитопроводе. Все соединения выполнены оконцеванием проводников гильзами и наконечниками путем прессования и пайки. Схема соединений активной части дана в приложении Б. Вводы съемные, расположены на крышке в передней части. Чертеж вводов дан в приложении В. Все составные элементы конструктивной части выполнены из металла с защитным антикоррозийнымпокрытием. Вольтодобавочный трансформатор заполнен трансформаторным маслом, имеющим пробивное напряжение не менее 40кВ. Сливная пробка бака и крышка бака опломбированы. При нарушении целостности пломб предприятие-изготовитель снимает с себя гарантийные обязательства, установленные техническими условиями.