| Обозначение | по МЭК 305 | |||
| типа изолятора | по ГОСТ 27661 | ПСД-70Е | ПСД-70Е | |
| Минимальная механическая разрушающая нагрузка | кН | 70 | 70 | |
| Минимальная механическая | кН | 56 | 56 | |
| разрушающая нагрузка | ||||
| остатка изолятора | ||||
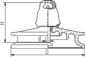
| Диаметр, D | мм | 270 | 270 | |
| Строительная высота, Н | мм | 127 | 146 | |
| Длина пути утечки | мм | 411 | 411 | |
| Сферическое соединение, d | мм | 16 | 16 | |
| Пробивное напряжение | кВ | 130 | 130 | |
| в изоляционной среде | ||||
| Выдерживаемое напряжение | кВ | 75 | 75 | |
| 50 Гц (в сухом состоянии) | ||||
| Выдерживаемое напряжение | кВ | 45 | 45 | |
| 50 Гц (под дождем) | ||||
| Выдерживаемое импульсное напряжение 1,2/50 +/- | кВ | 110/110 | 110/110 | |
| Напряжение по уровню | дБ | 60 | 60 | |
| радиопомех | кВ | 20 | 20 | |
| дБ | 86 | 86 | ||
| кВ | 25 | 25 | ||
| Масса | кг | 4,6 | 4,6 | |