| Обозначение | по МЭК 305 | U160BSP | U160BLP | U210BP | ||
| типа изолятора | по ГОСТ 27661 | ПСВ-160А | ПСВ-160А | ПСВ-210А | ПСВ-210А | |
| Минимальная механическая разрушающая нагрузка | кН | 160 | 160 | 210 | 210 | |
| Минимальная механическая | кН | 128 | 128 | 168 | 168 | |
| разрушающая нагрузка | ||||||
| остатка изолятора | ||||||
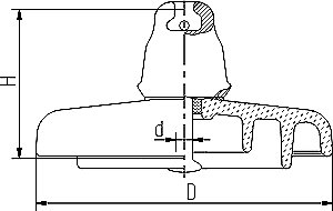
| Диаметр, D | мм | 320 | 320 | 330 | 330 | |
| Строительная высота, Н | мм | 146 | 170 | 170 | 195 | |
| Длина пути утечки | мм | 540/545 | 540/545 | 552/561 | 552/561 | |
| Сферическое соединение, d | мм | 20 | 20 | 20 | 20 | |
| Пробивное напряжение | кВ | 130 | 130 | 130 | 130 | |
| в изоляционной среде | ||||||
| Выдерживаемое напряжение | кВ | 90 | 90 | 90 | 90 | |
| 50 Гц (в сухом состоянии) | ||||||
| Выдерживаемое напряжение | кВ | 55 | 55 | 55 | 55 | |
| 50 Гц (под дождем) | ||||||
| Выдерживаемое импульсное напряжение 1,2/50 +/- | кВ | 140/140 | 140/140 | 140/140 | 140/140 | |
| Напряжение по уровню | дБ | 60 | 60 | |||
| радиопомех | кВ | 20 | 20 | |||
| дБ | 86 | 86 | 86 | 86 | ||
| кВ | 35 | 35 | 40 | 40 | ||
| Масса | кг | 8,28 | 8,28 | 9,45 | 9,45 | |